北交所上市公司海泰新能新增专利信息授权:“一种罗茨泵拆卸工装”
2024年11月29日 | 小微 | 浏览量:66522

图片来源于网络,如有侵权,请联系删除
每经讯,据启信宝,北交所上市公司海泰新能(835985)新增专利信息,专利权人为海泰新能,发明人是王文超、王永、刘学森、王莹莹、李纪伟。专利授权日为2024年11月29日,专利名称为“一种罗茨泵拆卸工装”,专利类型为中国实用新型专利,专利申请号为CN202323582857.2。
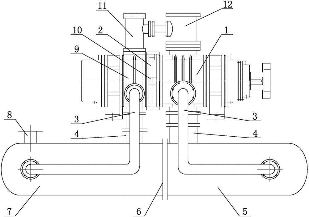
该专利摘要显示:本实用新型涉及罗茨泵技术领域,尤其涉及一种罗茨泵拆卸工装。一种该罗茨泵拆卸工装包括机架,所述机架设置有液压油缸;支架,所述支架设置于所述液压油缸的驱动端上;固定夹板,所述固定夹板设置于所述支架远离所述驱动端的一端上,所述固定夹板设置有滑杆以及螺杆,所述螺杆可在所述固定夹板上定点转动;活动夹板,所述活动夹板设置于所述滑杆以及螺杆上,且所述活动夹板位于所述固定夹板的一侧,所述活动夹板与所述固定夹板之间存在间隙;其中,在所述螺杆转动的情况下,所述活动夹板会远离或者靠近所述固定夹板。

图片来源于网络,如有侵权,请联系删除

图片来源于网络,如有侵权,请联系删除
(记者 曾健辉)
免责声明:本文内容与数据仅供参考,不构成投资建议,使用前核实。据此操作,风险自担。
版权声明
本文仅代表作者观点,不代表xx立场。
本文系作者授权xxx发表,未经许可,不得转载。
