海尔智家获得实用新型专利授权:“一种过滤器装置及热水器”
2024年09月14日 | 小微 | 浏览量:66953

图片来源于网络,如有侵权,请联系删除
证券之星消息,根据天眼查APP数据显示海尔智家(600690)新获得一项实用新型专利授权,专利名为“一种过滤器装置及热水器”,专利申请号为CN202323586883.2,授权日为2024年9月13日。
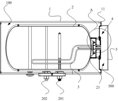
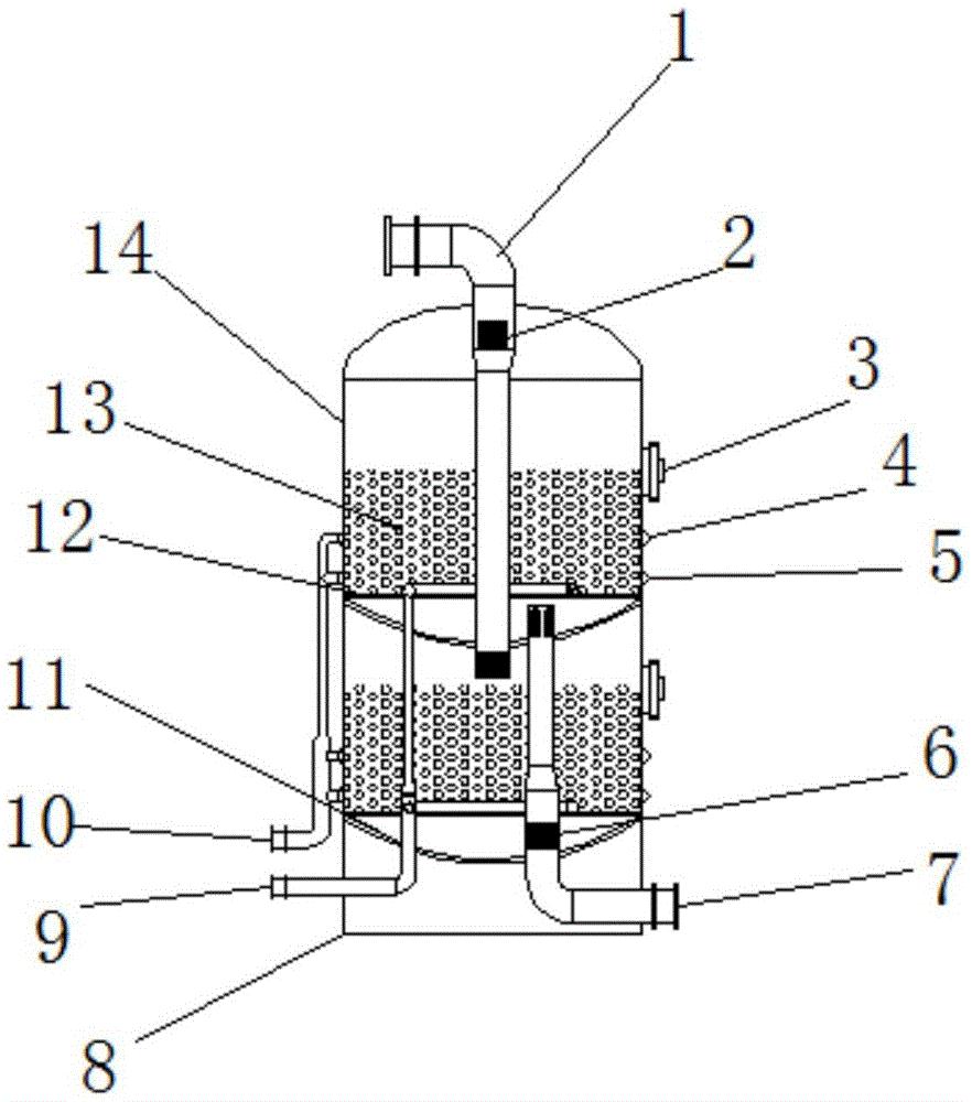
专利摘要:本实用新型公开了一种过滤器装置及热水器,过滤器的壳体上设有入水口、净水出口及污水出口,过滤器的内腔中设置内置件,内置件为两端至少一端敞口的中空筒状结构,内置件的周壁上设置多个间隔分布的通孔,内置件与壳体的内周壁之间形成间隙,内置件的内腔中设置滤芯。气擦模块用于向壳体与内置件之间的间隙内提供气体,气体经通孔流入内置件的内腔中,以对滤芯进行吹洗。本申请利用气流对过滤器内部滤芯进行吹洗,内置件的设置有助于提高吹洗效果,提高滤芯清洗效果,延长过滤器的使用寿命。

图片来源于网络,如有侵权,请联系删除
今年以来海尔智家新获得专利授权4434个,较去年同期减少了14.29%。结合公司2024年中报财务数据,今年上半年公司在研发方面投入了50.89亿元,同比增1.26%。
数据来源:天眼查APP
以上内容为证券之星据公开信息整理,由智能算法生成,不构成投资建议。
版权声明
本文仅代表作者观点,不代表xx立场。
本文系作者授权xxx发表,未经许可,不得转载。
