格力博获得实用新型专利授权:“一种吸尘器”
2024年12月24日 | 小微 | 浏览量:62952

图片来源于网络,如有侵权,请联系删除
证券之星消息,根据天眼查APP数据显示格力博(301260)新获得一项实用新型专利授权,专利名为“一种吸尘器”,专利申请号为CN202420677229.8,授权日为2024年12月24日。
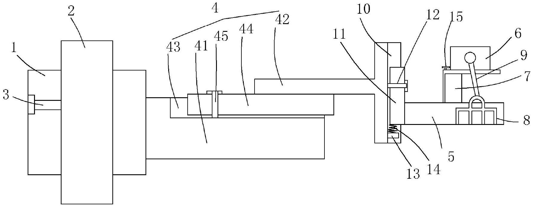
专利摘要:本实用新型属于清洁工具技术领域,具体涉及一种吸尘器,包括:尘杯,其上设有进风口,所述吸尘器上设有排风口;滤芯,置于所述尘杯内,所述滤芯呈环形设置,尘气经由所述进风口进入尘杯,流经所述滤芯,由所述排风口排出;清洁单元,置于所述滤芯中,所述清洁单元沿所述滤芯内表面周向运动,并与所述滤芯产生刮擦。驱动单元,用于驱动所述清洁单元运动。本实用新型提供的吸尘器在滤芯表面附近设置了清洁单元,清洁单元能够对滤芯产生撞击,进而诱发滤芯振动,以此来抖落滤芯表面附着的灰尘,确保吸尘器的气流通道畅通,提高吸尘器的工作效率,清洁单元对滤芯的清洁操作是在不拆机的情况下完成的,能够避免对外部环境造成污染,提升了用户的使用体验。

图片来源于网络,如有侵权,请联系删除
今年以来格力博新获得专利授权273个,较去年同期增加了88.28%。结合公司2024年中报财务数据,今年上半年公司在研发方面投入了1.12亿元,同比减23.76%。

图片来源于网络,如有侵权,请联系删除
数据来源:天眼查APP
以上内容为证券之星据公开信息整理,由智能算法生成,不构成投资建议。
版权声明
本文仅代表作者观点,不代表xx立场。
本文系作者授权xxx发表,未经许可,不得转载。
