雷赛智能获得实用新型专利授权:“过流保护电路的自锁电路、过流保护电路及电机驱动器”
2024年12月21日 | 小微 | 浏览量:61961

图片来源于网络,如有侵权,请联系删除
证券之星消息,根据天眼查APP数据显示雷赛智能(002979)新获得一项实用新型专利授权,专利名为“过流保护电路的自锁电路、过流保护电路及电机驱动器”,专利申请号为CN202323667940.X,授权日为2024年12月20日。
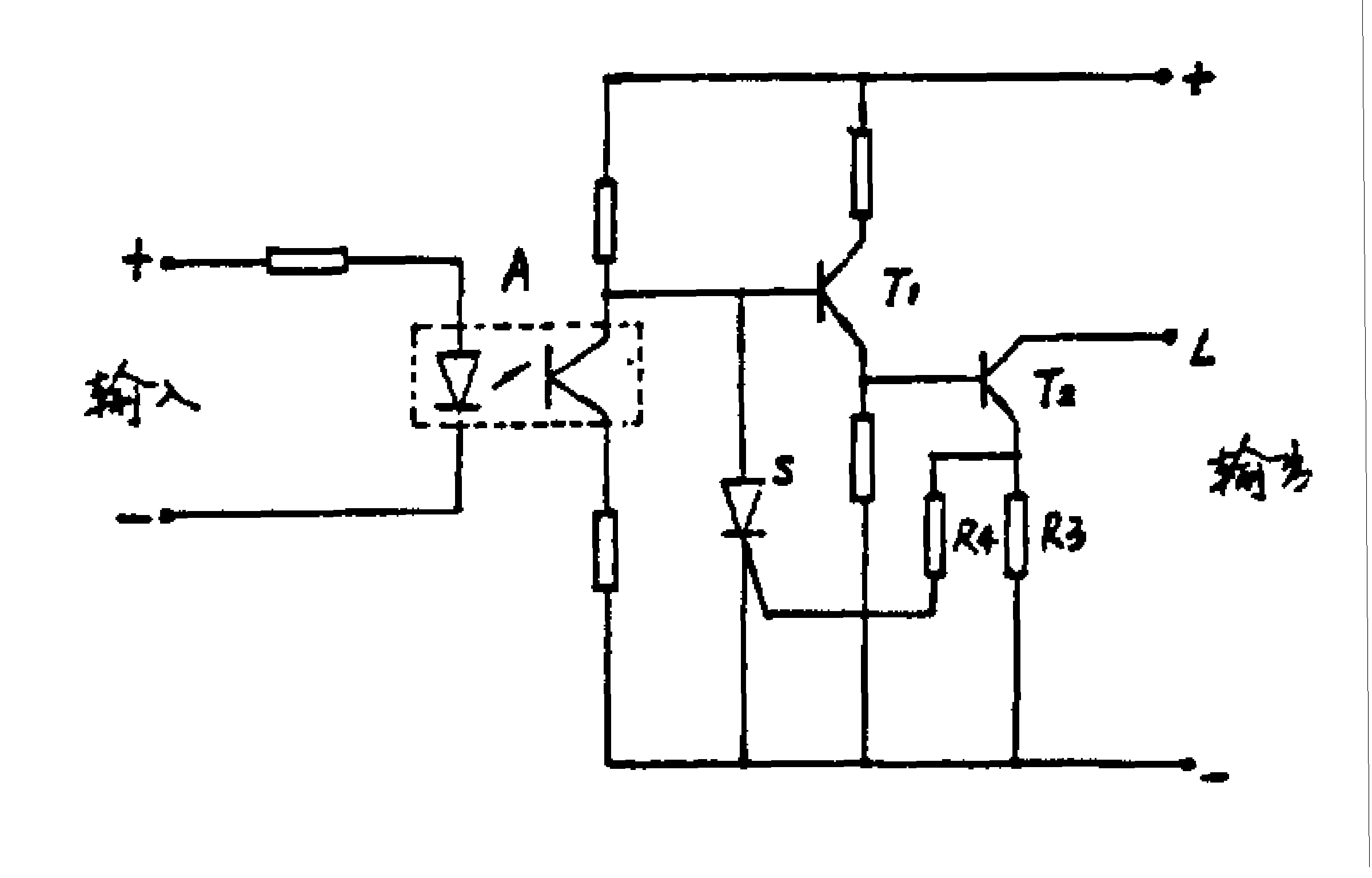
专利摘要:本实用新型涉及一种过流保护电路的自锁电路、过流保护电路及电机驱动器,过流保护电路的自锁电路包括:第一比较电路、第一开关管;比较电路的同相输入端经由第一二极管连接到供电电源,同时还作为自锁电路的输入端与过流检测电路连接、反向输入端连接基准电压单元、输出端与第一开关管的控制端连接并作为自锁电路的第一输出端连接控制电路;第一开关管的控制端经由第二二极管与比较电路的同相输入端连接、集电极与供电电源连接、发射极作为自锁电路的第二输出端与驱动电路连接。该自锁电路应用于过流保护电路,通过设置自锁电路,在接收到过流信号时,能够快速响应,提高了过流保护电路的及时性与可靠性。

图片来源于网络,如有侵权,请联系删除
今年以来雷赛智能新获得专利授权59个,较去年同期减少了11.94%。结合公司2024年中报财务数据,今年上半年公司在研发方面投入了9646.74万元,同比减2.25%。

图片来源于网络,如有侵权,请联系删除
数据来源:天眼查APP
以上内容为证券之星据公开信息整理,由智能算法生成,不构成投资建议。
版权声明
本文仅代表作者观点,不代表xx立场。
本文系作者授权xxx发表,未经许可,不得转载。
